产品展示
韩国三和PMR-220N7|韩国三和PMR电动机保护器
首页 / 产品中心 / 电子式电流继电器(AC)
产品标题:韩国三和PMR-220N7|韩国三和PMR电动机保护器
产品ID:VIB20090708211946734
品  牌:韩国三和EOCR
所在地:中国 上海
价  格:面议 (大量采购价格面议)
库存状态:货期待查
更新日期:2025-10-17 21:57:39
咨询电话:(+86)021-51699285
咨询Q Q: 2695337323
产品简述

 

基于MCU的密集型设计
多保护功能
2~15%的电压不平衡设定
跳闸原因指示和故障原因的查找
手动/电动/自动复位
失效-安全方式工作

产品详情

韩国三和PMR 保  护

 

 
保护项目

动作(跳闸)时间

逆相

0.1秒

缺相
1秒
电压不平衡
5秒

 
韩国三和PMR 技术条件
 

控制电源

规格

范围

220
3相160~300VAC,50/60HZ

440

3相340~480VAC,50/60HZ

复位

手动(即时)/电动/自动复位(在电源正常条件下,5秒后自动复位)

继电器输出

型式

1-SPDT(1C)
负载
5A/250AC 电阻性

状态

常态被激励
安装
35mm道轨安装
 
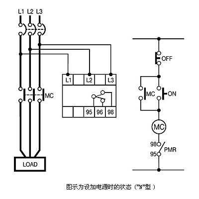
韩国三和PMR 典型参考图/接线图/安装尺寸图
 

型号名称

装箱数

价格

韩国三和PMR-220N7

10

询价

韩国三和PMR-440N7

10

询价